首页
新的苹果潜望镜镜头专利可能适用于2023年的iPhone系列
返回

新的苹果潜望镜镜头专利可能适用于2023年的iPhone系列

2022-12-18 科技信息 By:佚名
最佳答案自去年以来,分析师一直声称苹果将在未来的 iPhone 系列中添加潜望镜摄像头。早在 3 月份,人们就认为我们可能要到 2023 年才能看到任何配备它的 iPhone 。无论如何,苹果潜望镜相机的新专利已经被发现。根据Patently Apple 的说法,这家库比蒂诺公司刚刚获得了欧洲专利商标局的“折叠相机&rdq...

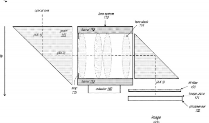
自去年以来,分析师一直声称苹果将在未来的 iPhone 系列中添加潜望镜摄像头。早在 3 月份,人们就认为我们可能要到 2023 年才能看到任何配备它的 iPhone 。无论如何,苹果潜望镜相机的新专利已经被发现。

根据Patently Apple 的说法,这家库比蒂诺公司刚刚获得了欧洲专利商标局的“折叠相机”专利。它提到在移动设备中使用多镜头系统“以低 F 值捕获高分辨率、高质量的图像”。顺便说一下,这里的 F 可能指的是镜头的光圈。基本上,它描述的是潜望镜相机模块。

此前有传言称,苹果将为 2023 款 iPhone 系列配备潜望式摄像头。但该公司可能不会将其仅限于 iPhone,因为该专利还提到了“平板电脑和平板设备”。这可能意味着 Apple 正在考虑将其添加到 iPad 中,尽管它不是最实用的实现方式。

猜你喜欢
手机变成砖头(手机变砖是什么意思)

手机变成砖头(手机变砖是什么意思)

12-18 0 阅读
IDC分析师确定哪些智能手机在非洲销售最好

IDC分析师确定哪些智能手机在非洲销售最好

12-18 0 阅读
画龙点睛的意思是(画龙点睛的意思)

画龙点睛的意思是(画龙点睛的意思)

01-22 0 阅读
笔记本键盘变数字键怎么办(笔记本键盘变数字)

笔记本键盘变数字键怎么办(笔记本键盘变数字)

12-18 0 阅读
空集是任何一个集合的真子集?(空集是任何集合的真子集)

空集是任何一个集合的真子集?(空集是任何集合的真子集)

07-23 0 阅读
食品营养与健康论文摘要(食品营养与健康论文)

食品营养与健康论文摘要(食品营养与健康论文)

12-19 0 阅读
热门推荐
手机变成砖头(手机变砖是什么意思)

手机变成砖头(手机变砖是什么意思)

12-18 0 阅读
IDC分析师确定哪些智能手机在非洲销售最好

IDC分析师确定哪些智能手机在非洲销售最好

12-18 0 阅读
画龙点睛的意思是(画龙点睛的意思)

画龙点睛的意思是(画龙点睛的意思)

01-22 0 阅读
笔记本键盘变数字键怎么办(笔记本键盘变数字)

笔记本键盘变数字键怎么办(笔记本键盘变数字)

12-18 0 阅读
空集是任何一个集合的真子集?(空集是任何集合的真子集)

空集是任何一个集合的真子集?(空集是任何集合的真子集)

07-23 0 阅读
食品营养与健康论文摘要(食品营养与健康论文)

食品营养与健康论文摘要(食品营养与健康论文)

12-19 0 阅读
为什么tinder一直收不到验证码(tinder收不到验证码)

为什么tinder一直收不到验证码(tinder收不到验证码)

12-18 0 阅读
去除痘痘怎么有效果(王者荣耀女英雄衣服被p光)

去除痘痘怎么有效果(王者荣耀女英雄衣服被p光)

06-21 0 阅读
芙蓉王妃(关于芙蓉王妃的介绍)

芙蓉王妃(关于芙蓉王妃的介绍)

12-19 0 阅读
市政中级工程师证有什么用(中级工程师证有什么用)

市政中级工程师证有什么用(中级工程师证有什么用)

12-18 0 阅读